定时任务框架XXL-Job
定时任务概述
什么是定时任务
定时任务是按照指定的时间周期来运行任务。使用场景为在某个固定时间点执行,或者周期性的去执行某个任务,比如:每天晚上 24 点做数据汇总,定时发送短信等。
常见定时任务方案
- While + Sleep : 通过循环加休眠的方式定时执行
- Timer 和 TimerTask :JDK自带的定时任务,可以实现简单的间隔执行任务(在指定时间点执行某一任务,也能定时的周期性执行),但无法实现按日历去调度执行任务。
- ScheduledExecutorService : Java 并发包下,自 JDK1.5 出现,是比较理想的定时任务实现方案。Eureka就使用的是它
- QuartZ : 使用 Quartz,它是一个异步任务调度框架,功能丰富,可以实现按日历调度,支持持久化。
- 使用 Spring Task:Spring 3.0 后提供 Spring Task 实现任务调度,支持按日历调度,相比 Quartz 功能稍简单,但是在开发基本够用,支持注解编程方式。
- SpringBoot 中的 Schedule : 通过
@EnableScheduling+@Scheduled最实现定时任务,底层使用的是 Spring Task
分布式定时任务面临的问题
上述的定时任务都是集中式(单体项目使用)的定时任务,在分布式中将会面临一些问题或不足
- 业务量大,单机性能瓶颈需要扩展
- 多台机器部署如何保证定时任务不重复执行
- 定时任务时间需要可调整,可以暂停
- 机器发生故障宕机,定时任务依然可用,也就是如何实现故障转移
- 定时任务,执行日志是否可监控
分布式定时任务 XXL-Job
XXL-Job 是一个分布式任务调度平台,于 2015 问世,其核心设计目标是开发迅速、学习简单、轻量级、易扩展。现已开放源代码并接入多家公司线上产品线,开箱即用。其具备且不止如下能力:
- 简单:支持通过 Web 页面对任务进行 CRUD 操作,操作简单,一分钟上手;
- 动态:支持动态修改任务状态、启动/停止任务,以及终止运行中任务,即时生效;
- 调度中心HA(中心式):调度采用中心式设计,“调度中心”基于集群 Quartz 实现并支持集群部署,可保证调度中心 HA;
- 执行器HA(分布式):任务分布式执行,任务"执行器"支持集群部署,可保证任务执行HA;
- 弹性扩容缩容:一旦有新执行器机器上线或者下线,下次调度时将会重新分配任务;
- 路由策略:执行器集群部署时提供丰富的路由策略,包括:第一个、最后一个、轮询、随机、一致性HASH、最不经常使用、最近最久未使用、故障转移、忙碌转移等;
- 故障转移:任务路由策略选择"故障转移"情况下,如果执行器集群中某一台机器故障,将会自动 Failover 切换到一台正常的执行器发送调度请求。
- 任务失败告警:默认提供邮件方式失败告警,同时预留扩展接口,可方面的扩展短信、钉钉等告警方式;
xxl-job 架构设计
设计思想
将调度行为抽象形成“调度中心”公共平台,而平台自身并不承担业务逻辑,“调度中心”负责发起调度请求。
将任务抽象成分散的 JobHandler,交由“执行器”统一管理,“执行器”负责接收调度请求并执行对应的 JobHandler 中的业务逻辑。因此,“调度”和“任务”两部分可以相互解耦,提高系统整体的稳定性和可扩展性。
架构设计图
XXL-Job 分为 调度中心 和 执行器 两大模块
- 调度模块(调度中心)
负责管理调度信息,按照调度配置发出调度请求,自身不承担业务代码。调度系统与任务解耦,提高了系统可用性和稳定性,同时调度系统性能不再受限于任务模块;
支持可视化、简单且动态的管理调度信息,包括任务新建,更新,删除,GLUE开发和任务报警等,所有上述操作都会实时生效,同时支持监控调度结果以及执行日志,支持执行器 Failover(故障转移)。
- 执行模块(执行器)
负责接收调度请求并执行任务逻辑。任务模块专注于任务的执行等操作,开发和维护更加简单和高效;
接收“调度中心”的执行请求、终止请求和日志请求等。

- 调度中心高可用
基于数据库的集群方案,数据库选用 Mysql;集群分布式并发环境中进行定时任务调度时,会在各个节点会上报任务,存到数据库中,执行时会从数据库中取出触发器来执行,如果触发器的名称和执行时间相同,则只有一个节点去执行此任务。
- 并行调度
调度采用线程池方式实现,避免单线程因阻塞而引起任务调度延迟。XXL-JOB 调度模块默认采用并行机制,在多线程调度的情况下,调度模块被阻塞的几率很低,大大提高了调度系统的承载量。
XXL-JOB 的不同任务之间并行调度、并行执行。XXL-JO B的单个任务,针对多个执行器是并行运行的,针对单个执行器是串行执行的。同时支持任务终止。
- 执行器(任务)高可用
执行器如若集群部署,调度中心将会感知到在线的所有执行器,如“127.0.0.1:9997, 127.0.0.1:9998, 127.0.0.1:9999”。多个执行器可以选择“路由策略”来采用轮询,随机等方式进行多机器调度。
当任务”路由策略”选择”故障转移(FAILOVER)”时,当调度中心每次发起调度请求时,会按照顺序对执行器发出心跳检测请求,第一个检测为存活状态的执行器将会被选定并发送调度请求。调度成功后,可在日志监控界面查看“调度备注”
xxl-job 入门
下载源码
请下载 项目源码 并解压,使用 IDEA 工具导入项目。
项目代码结构如下:

- doc:文档,即 SQL 脚本所在目录
- db:“调度数据库”建表脚本
- xxl-job-admin:调度中心
- xxl-job-core:核心模块,公共依赖
- xxl-job-executor-samples:执行器,sample 示例项目(大家可以在该项目上进行开发,也可以将现有项目改造生成执行器项目)
- xxl-job-executor-sample-springboot:Springboot 版本,通过 Springboot 管理执行器,推荐这种方式;
- xxl-job-executor-sample-frameless:无框架版本;
导入数据库
打开项目代码,获取 “调度数据库初始化SQL脚本” 并执行即可。“调度数据库初始化SQL脚本” 位置为: /xxl-job/doc/db/tables_xxl_job.sql ,数据库名:xxl_job

数据库如下:

- xxl_job_lock :任务调度锁表;
- xxl_job_group :执行器信息表,维护任务执行器信息;
- xxl_job_info :调度扩展信息表:用于保存 XXL-JOB 调度任务的扩展信息,如任务分组、任务名、机器地址、执行器、执行入参和报警邮件等等;
- xxl_job_log :调度日志表:用于保存 XXL-JOB 任务调度的历史信息,如调度结果、执行结果、调度入参、调度机器和执行器等等;
- xxl_job_log_report :调度日志报表:用户存储 XXL-JOB 任务调度日志的报表,调度中心报表功能页面会用到;
- xxl_job_logglue :任务 GLUE 日志:用于保存 GLUE 更新历史,用于支持 GLUE 的版本回溯功能;
- xxl_job_registry :执行器注册表,维护在线的执行器和调度中心机器地址信息;
- xxl_job_user :系统用户表;
配置部署调度中心
配置调度中心
打开 xxl-job-admin 的配置文件,/xxl-job/xxl-job-admin/src/main/resources/application.properties 对调度中心进行配置,重要配置如下:
- server.port : 服务端口
- spring.datasource.url :指向刚才准备的数据库
- spring.datasource.password : 记得修改成自己的数据库密码
- spring.mail.username :配置自己的邮件账号
- spring.mail.password :邮件的授权码,我下面是以qq邮箱为例
下面根据自己的情况进行修改,不要直接复制
### 调度中心JDBC链接:链接地址请保持和 2.1 章节 所创建的调度数据库的地址一致
spring.datasource.url=jdbc:mysql://127.0.0.1:3306/xxl_job?useUnicode=true&characterEncoding=UTF-8&autoReconnect=true&serverTimezone=Asia/Shanghai
spring.datasource.username=root
spring.datasource.password=root_pwd
spring.datasource.driver-class-name=com.mysql.jdbc.Driver
### 报警邮箱
spring.mail.host=smtp.qq.com
spring.mail.port=25
spring.mail.username=xxx@qq.com
spring.mail.password=邮箱授权码,不是登录密码
spring.mail.properties.mail.smtp.auth=true
spring.mail.properties.mail.smtp.starttls.enable=true
spring.mail.properties.mail.smtp.starttls.required=true
spring.mail.properties.mail.smtp.socketFactory.class=javax.net.ssl.SSLSocketFactory
### 调度中心通讯TOKEN [选填]:非空时启用;
xxl.job.accessToken=
### 调度中心国际化配置 [必填]: 默认为 "zh_CN"/中文简体, 可选范围为 "zh_CN"/中文简体, "zh_TC"/中文繁体 and "en"/英文;
xxl.job.i18n=zh_CN
## 调度线程池最大线程配置[必填]
xxl.job.triggerpool.fast.max=200
xxl.job.triggerpool.slow.max=100
### 调度中心日志表数据保存天数 [必填]:过期日志自动清理;限制大于等于7时生效,否则, 如-1,关闭自动清理功能;
xxl.job.logretentiondays=30部署调度中心
然后启动调度中心 ,执行 XxlJobAdminApplication#main 方法 , 启动之后,浏览器访问 http://localhost:18080/xxl-job-admin/jobinfo?jobGroup=2
注意 URL 中有个上下文路径。默认登录账号 “admin/123456”,登录后运行界面如下图所示:

配置部署执行器项目
“执行器”项目:xxl-job-executor-sample-springboot (提供多种版本执行器供选择,现以 springboot 版本为例,可直接使用,也可以参考其并将现有项目改造成执行器)
作用:负责接收“调度中心”的调度并执行;可直接部署执行器,也可以将执行器集成到现有业务项目中。
导入maven 依赖
确认 pom 文件中引入了 “xxl-job-core” 的 maven 依赖:
<!-- http://repo1.maven.org/maven2/com/xuxueli/xxl-job-core/ -->
<dependency>
<groupId>com.xuxueli</groupId>
<artifactId>xxl-job-core</artifactId>
<version>${最新稳定版本}</version>
</dependency>配置执行器
修改配置:/xxl-job/xxl-job-executor-samples/xxl-job-executor-sample-springboot/src/main/resources/application.properties
- xxl.job.admin.addresses: 调度中心的地址,如果调度中心修改过端口,这里也要对应修改
### 调度中心部署根地址 [选填]:如调度中心集群部署存在多个地址则用逗号分隔。执行器将会使用该地址进行"执行器心跳注册"和"任务结果回调";为空则关闭自动注册;
xxl.job.admin.addresses=http://127.0.0.1:8080/xxl-job-admin
### 执行器通讯TOKEN [选填]:非空时启用;
xxl.job.accessToken=
### 执行器AppName [选填]:执行器心跳注册分组依据;为空则关闭自动注册
xxl.job.executor.appname=xxl-job-executor-sample
### 执行器注册 [选填]:优先使用该配置作为注册地址,为空时使用内嵌服务 ”IP:PORT“ 作为注册地址。从而更灵活的支持容器类型执行器动态IP和动态映射端口问题。
xxl.job.executor.address=
### 执行器IP [选填]:默认为空表示自动获取IP,多网卡时可手动设置指定IP,该IP不会绑定Host仅作为通讯实用;地址信息用于 "执行器注册" 和 "调度中心请求并触发任务";
xxl.job.executor.ip=
### 执行器端口号 [选填]:小于等于0则自动获取;默认端口为9999,单机部署多个执行器时,注意要配置不同执行器端口;
xxl.job.executor.port=9999
### 执行器运行日志文件存储磁盘路径 [选填] :需要对该路径拥有读写权限;为空则使用默认路径;
xxl.job.executor.logpath=/data/applogs/xxl-job/jobhandler
### 执行器日志文件保存天数 [选填] : 过期日志自动清理, 限制值大于等于3时生效; 否则, 如-1, 关闭自动清理功能;
xxl.job.executor.logretentiondays=30执行器组件配置
上面配置是为了在 Spring 容器中创建一个 XxlJobSpringExecutor 执行器 Bean,见:com.xxl.job.executor.core.config.XxlJobConfig#xxlJobExecutor
@Bean
public XxlJobSpringExecutor xxlJobExecutor() {
logger.info(">>>>>>>>>>> xxl-job config init.");
XxlJobSpringExecutor xxlJobSpringExecutor = new XxlJobSpringExecutor();
xxlJobSpringExecutor.setAdminAddresses(adminAddresses);
xxlJobSpringExecutor.setAppname(appname);
xxlJobSpringExecutor.setAddress(address);
xxlJobSpringExecutor.setIp(ip);
xxlJobSpringExecutor.setPort(port);
xxlJobSpringExecutor.setAccessToken(accessToken);
xxlJobSpringExecutor.setLogPath(logPath);
xxlJobSpringExecutor.setLogRetentionDays(logRetentionDays);
return xxlJobSpringExecutor;
}如果已经正确进行上述配置,可将执行器项目编译打包部署。
配置定时任务
BEAN模式(方法形式)
Bean 模式任务,支持基于方法的开发方式,每个任务对应一个方法。
- 优点:
- 每个任务只需要开发一个方法,并添加”@XxlJob”注解即可,更加方便、快速。
- 支持自动扫描任务并注入到执行器容器。
- 缺点:要求 Spring 容器环境;
在 com.xxl.job.executor.service.jobhandler.SampleXxlJob 中提供了简单的定时任务实例。
为方便用户参考与快速实用,示例执行器内原生提供多个 Bean 模式任务 Handler,可以直接配置实用,如下:
- demoJobHandler :简单示例任务,任务内部模拟耗时任务逻辑,用户可在线体验
Rolling Log等功能; - shardingJobHandler :分片示例任务,任务内部模拟处理分片参数,可参考熟悉分片任务;
- httpJobHandler :通用 HTTP 任务Handler;业务方只需要提供HTTP链接等信息即可,不限制语言、平台。示例任务入参如下:
/**
* XxlJob开发示例(Bean模式)
*
* 开发步骤:
* 1、在Spring Bean实例中,开发Job方法,方式格式要求为 "public ReturnT<String> execute(String param)"
* 2、为Job方法添加注解 "@XxlJob(value="自定义jobhandler名称", init = "JobHandler初始化方法", destroy = "JobHandler销毁方法")",注解value值对应的是调度中心新建任务的JobHandler属性的值。
* 3、执行日志:需要通过 "XxlJobLogger.log" 打印执行日志;
*
* @author xuxueli 2019-12-11 21:52:51
*/
@Component
public class SampleXxlJob {
private static Logger logger = LoggerFactory.getLogger(SampleXxlJob.class);
/**
* 1、简单任务示例(Bean模式)
*/
@XxlJob("demoJobHandler")
public ReturnT<String> demoJobHandler(String param) throws Exception {
logger.info("XXL-JOB, Hello World. param={}",param);
return ReturnT.SUCCESS;
}
//...省略...
}如果我们要写自己的定时任务,参照上面方法,在方法上注解一个@XxlJob("任务名字"),方法可以接受一个字符串参数,方法需要返回 ReturnT 格式。
创建执行器
打开调度中心可视化界面,在执行器管理界面,添加新增执行器

- appName : 执行器的名字,可以任意填写
- 名称:任意填写
- 注册方式:调度中心是通过 RPC 的方式对执行器发起调度,所以这里需要的是执行器项目的
ip:port,注意,该端口不是执行器项目的server.port,而是:xxl.job.executor.port端口。你可以选择自动注册,也可以手动录入。
创建任务
在 任务管理 界面,新增任务

- 路由策略 :有轮询,随机,故障转移等等策略,是用在集群模式下的调度方式。
- cron : 定时任务的执行时间规则,时间表达式
- JobHandler : 这个是要对应 “执行器项目”中
@XxlJob("demoJobHandler")注解中的名字 - 运行模式 :Bean ,使用内置代码方式,也可以执行在线执行代码方式
- 报警邮件 :如果定时任务失败,会发送报警邮件到邮箱
- 任务参数 :这个参数可以传递给
@XxlJob("demoJobHandler")所在方法的参数。
创建好任务之后就可以执行了:

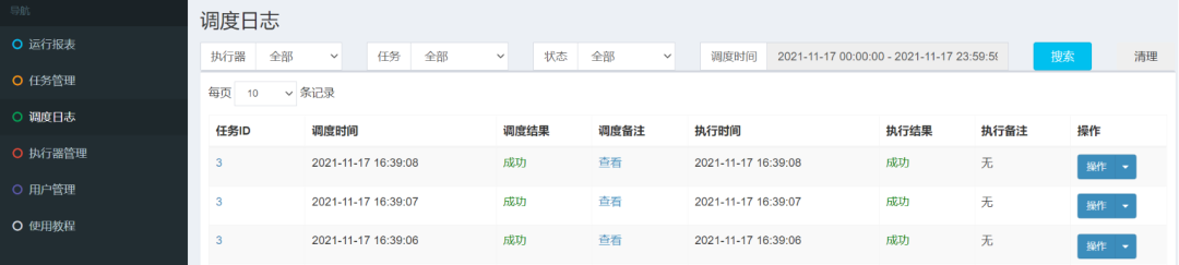
调度日志:

IDEA工具控制台效果:
15:47:33.017 logback [Thread-16] INFO c.x.j.e.s.jobhandler.SampleXxlJob - XXL-JOB, Hello World. param=
15:47:34.007 logback [Thread-16] INFO c.x.j.e.s.jobhandler.SampleXxlJob - XXL-JOB, Hello World. param=
15:47:35.008 logback [Thread-16] INFO c.x.j.e.s.jobhandler.SampleXxlJob - XXL-JOB, Hello World. param=
...省略...GLUE模式(Java)
添加任务
该模式支持在线编辑定时任务的内容,立刻执行,无需再开发工具中编辑代码,也无需重启项目。
请点击任务右侧 “GLUE” 按钮,进入 “GLUE编辑器开发界面” ,见下图。“GLUE模式(Java)” 运行模式的任务默认已经初始化了示例任务代码,即打印Hello World。

任务以源码方式维护在调度中心,支持通过Web IDE在线更新,实时编译和生效,因此不需要指定JobHandler
编写代码
保存之后可以在操作按钮里面去编写任务

(“GLUE模式(Java)” 运行模式的任务实际上是一段继承自IJobHandler的Java类代码,它在执行器项目中运行,可使用@Resource/@Autowire注入执行器里中的其他服务),比如我的定时任务如下,编辑好之后点击保存

保存好之后,启动定时任务,效果如下

总结
xxl-job 确实很强大,功能也很全,但是如果是一个小体量的单体项目,就不太建议使用它,Quzrtz 或者 SpringBoot Task 就足够 ,xxl-job 还是有些笨重。